Zatrzask wpuszczany do stalowej ramy murowanej 14 mm chromowany - za sztukę
Dlaczego warto wybrać Zatrzask wpuszczany do stalowej ramy murowanej 14 mm chromowany - za sztukę?
- Bardzo łatwe Montowanie
- Nierdzewny
Zatrzask wpuszczany do stalowej ramy murowanej 14 mm chromowany - za sztukę
Chromowane zawiasy wpuszczane Wovar do ościeżnic stalowych montowanych w murze ułatwiają zawieszanie drzwi pionowych. Zawiasy te są przeznaczone specjalnie do ościeżnic montowanych w murze
.Zawias wpuszczany do stalowej ościeżnicy murowanej 14 mm
Ten chromowany zawias Polynorm ma średnią nośność 20 kg każdy. Pozwala to bez obaw zawiesić przeciętne standardowe drzwi wewnętrzne o wadze 30 kg na dwóch takich zawiasach.
Zawias jest dostarczany wraz ze śrubą M6 x 10 mm z niskim łbem kulistym . Do dokręcenia tej śruby potrzebny będzie klucz imbusowy. Jeśli jeszcze go nie masz, możesz go znaleźć w naszej kategorii narzędzia ręczne.
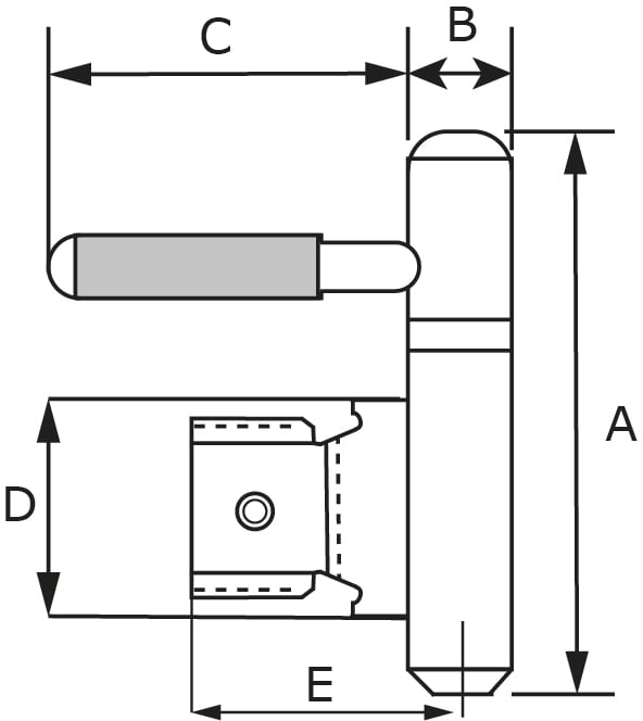
Poniższa tabela przedstawia dokładne wymiary zawiasu. Użyj niniejszego obrazka 2, aby zobaczyć, który element zawiasu Polynorm należy do której litery.
| Element wiercący zawias | Wymiary podane w mm |
| A | 78 mm |
| B | 14 mm |
| C | 50 mm |
| D | 34 mm |
| E | 33 mm |
Montaż zawiasu Polynorm do ramy murowanej
Zawias wiercony do stalowej ramy murowanej jest łatwy w montażu. Rama montażowa umieszczona na stalowej ramie murowanej będzie już miała wstępnie wywiercony otwór na zawiasy wiercone. Wystarczy zatem wywiercić otwory w drzwiach nakładanych. Przeczytaj poniższe instrukcje montażu, aby uzyskać wyjaśnienie krok po kroku.
- Wsuń dolną połowę zawiasów w ramę i przykręć je.
- Następnie określ wysokość otworów na zawiasy w drzwiach i zaznacz je.
- Następnie użyj wiertła do twardego drewna o średnicy 5 mm aby wstępnie wywiercić otwory o głębokości do 30 mm. .
- Na koniec przykręć zawiasy do drzwi i zawieś je.
Zamów zawias wiercony 14 mm do ościeżnicy stalowej
Zamów ten chromowany zawias Polynorm do ościeżnic murowanych w Wovar już dziś!
Jesteś architektem krajobrazu lub prowadzisz firmę budowlaną lub złotą rączkę? Zarejestruj konto biznesowe i uzyskaj dodatkowe korzyści, takie jak własna osoba kontaktowa i stały rabat biznesowy!
Czy to wwiercanie nie jest tym, czego szukasz? W takim razie spójrz na nasze inne zawiasy paumelle. Lub spójrz na całą naszą ofertę zawiasy. Na przykład dostarczamy również zawiasy kulowe, zawiasy bolcowe, zawiasy do drzwi żaluzjowych, zawiasy bezpieczeństwa i zawiasy czarne, między innymi.
Specyfikacja produktu
| Marka | Wovar |
|---|---|
| Numer artykułu | WV005373 |
| Kod EAN | 8720574796865 |
| Kolor | Chrom |
| Cecha charakterystyczna 1 | Do pionowych drzwi wewnętrznych |
| Cecha charakterystyczna 2 | Do ram murowanych ze stali |
| Wymiary | 14 mm |
| Materiał | Stal chromowana |
| Wykończenie | Chromowany |
| Kierunek obrotu | Lewy i prawy |













