Zawiasy Paumelle czarny do ramy stalowej 14 mm - 1 szt.
Dlaczego warto wybrać Zawiasy Paumelle czarny do ramy stalowej 14 mm - 1 szt.?
- Bardzo łatwe Montowanie
- Do ram z trzpieniami stalowymi
- Nierdzewny
Zawiasy Paumelle czarny do ramy stalowej 14 mm - 1 szt.
Masz zamiar zamontować drzwi podnoszone w stalowej ramie? W takim razie użyj czarnych zawiasów Wovar do ościeżnic stalowych! Zawiasy te są specjalnie zaprojektowane do zawieszania drzwi w ramach montażowych umieszczonych na stalowych ramach.
Zawias nawiercany do ościeżnicy stalowej 14 mm czarny
Trzpień tego zawiasu wpuszczanego ma średnicę 14 mm i jest wykończony czarną powłoką lakierniczą. Co więcej, jego średnia nośność wynosi 20 kg każdy. Dzięki dwóm zawiasom będziesz miał więcej niż wystarczającą nośność, aby zawiesić przeciętne standardowe drzwi wewnętrzne o wadze 30 kg.
Zawias wpuszczany nie zawiera materiału mocującego. Dlatego zalecamy użycie naszych śrub z łbem gniazdowym M6 x 20 mm. Do ich dokręcenia potrzebny będzie klucz imbusowy. Nie masz jeszcze takiego klucza? W takim razie możesz go znaleźć w naszej kategorii narzędzia ręczne.
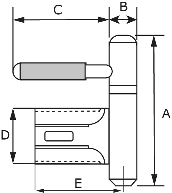
.Dokładne wymiary zawiasu nawiercanego można znaleźć na rysunku 2 i w poniższej tabeli. Pozwala to odczytać wymiary każdego elementu zawiasu.
| Element zawiasu wiercącego | Wymiary wyświetlane w mm |
| A | 78 mm |
| B | 14 mm |
| C | 50 mm |
| D | 32 mm |
| E | 45 mm |
Zawias mocujący czarny wiercony do ramy stalowej
Zawias wiercony do stalowej ramy słupkowej jest szybki i łatwy w montażu. W rzeczywistości, gdy potrzebujesz tego zawiasu wierconego, twoja rama montażowa będzie już miała wstępnie wywiercony otwór. Wystarczy zatem jedynie wywiercić otwory w drzwiach pionowych. Poniżej przygotowaliśmy krótki plan montażu krok po kroku.
- Wsuń dolną połowę zawiasów w ramę i przykręć je.
- Następnie określ wysokość otworów na zawiasy w drzwiach i zaznacz je.
- Następnie użyj wiertła do twardego drewna o średnicy 5 mm aby wstępnie wywiercić otwory o głębokości do 30 mm. .
- Na koniec przykręć zawiasy do drzwi i zawieś je.
Zamów zawias wiercony 14 mm do ościeżnicy stalowej
Zamów ten modny czarny zawias nawiercany do ościeżnic stalowych w konkurencyjnej cenie od Wovar!
Jesteś architektem krajobrazu lub prowadzisz firmę budowlaną lub złotą rączkę? Zarejestruj konto biznesowe i uzyskaj dodatkowe korzyści, takie jak własna osoba kontaktowa i stały rabat biznesowy!
Czy to wwiercanie nie jest tym, czego szukasz? W takim razie spójrz na nasze inne zawiasy paumelle. Lub spójrz na całą naszą ofertę zawiasy. Na przykład dostarczamy również zawiasy kulowe, zawiasy bolcowe, zawiasy do drzwi żaluzjowych, zawiasy bezpieczeństwa i zawiasy czarne, między innymi.
Specyfikacja produktu
| Marka | Wovar |
|---|---|
| Numer artykułu | WV005372 |
| Kod EAN | 8720574796858 |
| Kolor | Czarny |
| Cecha charakterystyczna 1 | Do pionowych drzwi wewnętrznych |
| Cecha charakterystyczna 2 | Dla ramy ze stali |
| Wymiary | 14 mm |
| Materiał | Stal |
| Kierunek obrotu | Lewy i prawy |













