Zawiasy Paumelle czarny do stalowej ramy murowanej 14 mm - za sztukę
Dlaczego warto wybrać Zawiasy Paumelle czarny do stalowej ramy murowanej 14 mm - za sztukę?
- Bardzo łatwe Montowanie
- Dla ram murowanych ze stali
- Nierdzewny
Zawiasy Paumelle czarny do stalowej ramy murowanej 14 mm - za sztukę
Czarny zawias wiercony firmy Wovar do stalowych ościeżnic murowanych umożliwia łatwe zawieszanie drzwi pionowych. Znany również jako zawias Polynorm, ten zawias jest specjalnie zaprojektowany do ram montażowych zamocowanych na stalowej ramie murowanej.
Czarny zawias Polynorm 14 mm
Zawias ten ma średnią nośność 20 kg każdy i jest wykończony stylową czarną farbą. Przy takim udźwigu dwa zawiasy wystarczą do zawieszenia przeciętnych standardowych drzwi pionowych o wadze 30 kg.
Zawias wpuszczany zawiera śrubę z gniazdem M6 x 10 mm z niskim łbem kulistym w zestawie. Do dokręcenia tej śruby potrzebny będzie klucz imbusowy. Jeśli nadal go potrzebujesz, możesz łatwo zamówić go u nas. Klucz sześciokątny można znaleźć w naszej narzędzia ręczne.
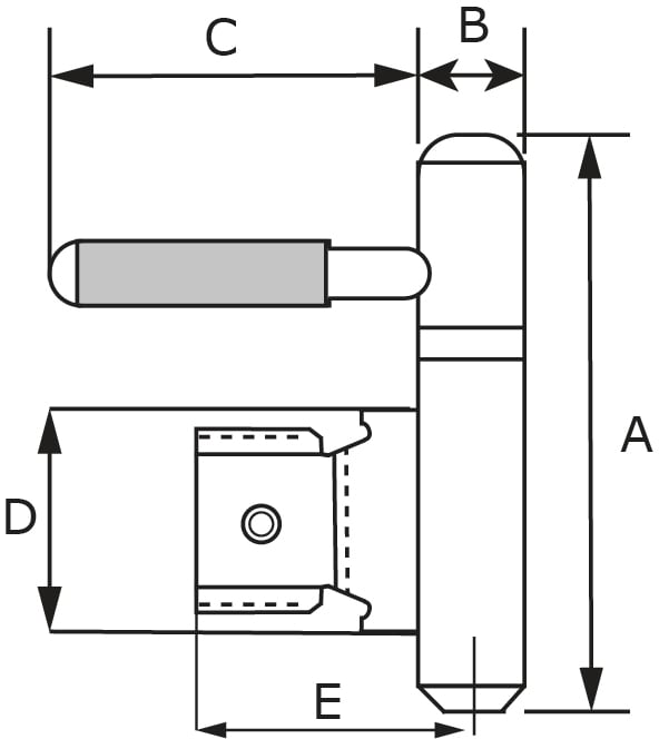
.Poniższa tabela przedstawia dokładne wymiary zawiasu Polynorm. Skorzystaj z niniejszego obrazka 2, aby zobaczyć, który element zawiasu należy do której litery.
| Element wiercący zawias | Wymiary wyświetlane w mm |
| A | 78 mm |
| B | 14 mm |
| C | 50 mm |
| D | 34 mm |
| E | 33 mm |
Mocowanie czarnego zawiasu wpuszczanego do ramy murowanej
Zawias wpuszczany do stalowej ramy murowanej jest łatwy do zamocowania. Rama montażowa umieszczona na stalowej ramie murowanej będzie już miała wstępnie wywiercony otwór na zawiasy wiercone. Wystarczy zatem wywiercić otwory w drzwiach nakładanych. Przeczytaj poniższą instrukcję montażu, aby uzyskać wyjaśnienie krok po kroku.
- Wsuń dolną połowę zawiasów w ramę i przykręć je.
- Następnie określ wysokość otworów na zawiasy w drzwiach i zaznacz je.
- Następnie użyj wiertła do twardego drewna o średnicy 5 mm do wstępnego wywiercenia otworów o głębokości do 30 mm. .
- Na koniec przykręć zawiasy do drzwi i zawieś je.
Zamów czarny zawias Polynorm 14 mm
Zamów ten stylowy czarny zawias Polynorm do ościeżnic murowanych już dziś w Wovar!
Jako ogrodnik i firma budowlana lub złota rączka, możesz cieszyć się dodatkowymi korzyściami dzięki kontu biznesowemu! Zarejestruj się i uzyskaj między innymi natychmiastowy stały rabat biznesowy!
Czy to wwiercanie nie jest tym, czego szukasz? W takim razie spójrz na nasze inne paumelle zawiasy. Lub spójrz na całą naszą ofertę zawiasy. Na przykład dostarczamy również zawiasy kulowe, zawiasy bolcowe, zawiasy do drzwi żaluzjowych, zawiasy bezpieczeństwa i zawiasy czarne, między innymi.
Specyfikacja produktu
| Marka | Wovar |
|---|---|
| Numer artykułu | WV005371 |
| Kod EAN | 8720574796872 |
| Kolor | Czarny |
| Cecha charakterystyczna 1 | Do pionowych drzwi wewnętrznych |
| Cecha charakterystyczna 2 | Do ram murowanych ze stali |
| Wymiary | 14 mm |
| Materiał | Stal |
| Kierunek obrotu | Lewy i prawy |













