Zawiasy Paumelle do ramy stalowej 14 mm chromowany - za sztukę
Dlaczego warto wybrać Zawiasy Paumelle do ramy stalowej 14 mm chromowany - za sztukę?
- Bardzo łatwe Montowanie
- Do ram z trzpieniami stalowymi
- Nierdzewny
Zawiasy Paumelle do ramy stalowej 14 mm chromowany - za sztukę
Chromowany zawias wiercony firmy Wovar do stalowej ramy słupkowej ułatwia zawieszenie drzwi pionowych. Zawiasy te są specjalnie wykonane do montażu ościeżnic montowanych na stalowej ramie słupkowej.
Zawias wiercony do ościeżnicy stalowej 14 mm
.Ten chromowany zawias wiercący ma średnią nośność 20 kg każdy. Pozwala to bez obaw zawiesić przeciętne standardowe drzwi wewnętrzne o wadze 30 kg na dwóch zawiasach.
Zawias wpuszczany nie zawiera materiału mocującego. Dlatego zalecamy użycie naszych śrub z łbem gniazdowym M6 x 20 mm. Do ich dokręcenia potrzebny będzie klucz imbusowy. Nie masz jeszcze takiego klucza? W takim razie możesz go znaleźć w naszej kategorii narzędzia ręczne.
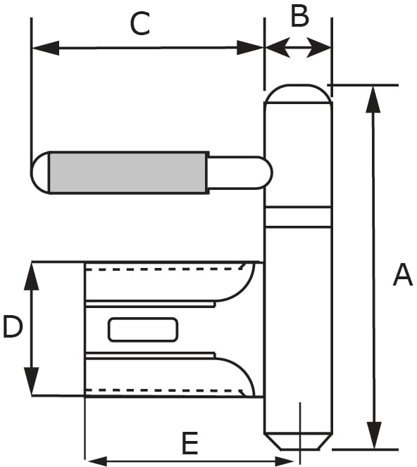
.Poniższa tabela przedstawia dokładne wymiary zawiasu. Użyj poniższego obrazka 2, aby zobaczyć, który element zawiasu wwiercanego należy do której litery.
| Element wiercący zawias | Wymiary podane w mm |
| A | 78 mm |
| B | 14 mm |
| C | 50 mm |
| D | 32 mm |
| E | 45 mm |
Zawias uchylny do montażu na ramie stalowej
Zawias do montażu w stalowej ramie słupkowej jest łatwy w montażu. Rama montażowa umieszczona na stalowej ramie słupkowej będzie już miała wstępnie wywiercony otwór na zawiasy wiercone. Wystarczy zatem wywiercić otwory w drzwiach nakładanych. Przeczytaj poniższe instrukcje montażu, aby uzyskać wyjaśnienie krok po kroku.
- Wsuń dolną połowę zawiasów w ramę i przykręć je.
- Następnie określ wysokość otworów na zawiasy w drzwiach i zaznacz je.
- Następnie użyj wiertła do twardego drewna o średnicy 5 mm aby wstępnie wywiercić otwory o głębokości do 30 mm. .
- Na koniec przykręć zawiasy do drzwi i zawieś je.
Zamów zawias wiercony 14 mm do ościeżnicy stalowej
Zamów ten konkurencyjny cenowo zawias wpuszczany do ościeżnic stalowych już dziś w Wovar!
Jesteś architektem krajobrazu lub prowadzisz firmę budowlaną lub złotą rączkę? Zarejestruj konto biznesowe i uzyskaj dodatkowe korzyści, takie jak własna osoba kontaktowa i stały rabat biznesowy!
Czy to wwiercanie nie jest tym, czego szukasz? W takim razie spójrz na nasze inne zawiasy paumelle. Lub spójrz na całą naszą ofertę zawiasy. Na przykład dostarczamy również zawiasy kulowe, zawiasy bolcowe, zawiasy do drzwi żaluzjowych, zawiasy bezpieczeństwa i zawiasy czarne, między innymi.
Specyfikacja produktu
| Marka | Wovar |
|---|---|
| Numer artykułu | WV005374 |
| Kod EAN | 8720574796841 |
| Kolor | Chrom |
| Cecha charakterystyczna 1 | Do pionowych drzwi wewnętrznych |
| Wymiary | 14 mm |
| Materiał | Stal chromowana |
| Wykończenie | Chromowany |
| Kierunek obrotu | Lewy i prawy |













